- Rumah
- >
- Berita
- >
- berita industri
- >
- Jenis dan fungsi tali tambat
Jenis dan fungsi tali tambat
Klasifikasi tali tambat :
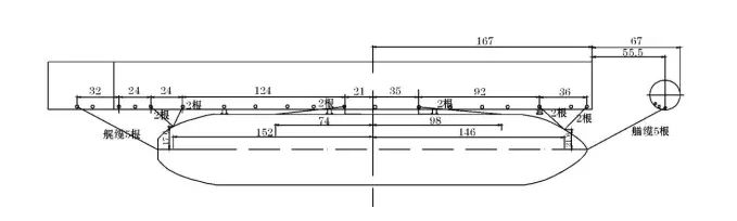
Tali tambatan laut secara umum dibedakan menjadi: kabel, tali, dan tali
Bahan: Serat tumbuhan, serat kimia, tali kawat baja
Serat tumbuhan:
Tali coklat putih
Tali coklat merah
Tali rami minyak
Tali rami kapas

Serat kimia:
Tali nilon
tali vinilon
Tali poliester
Tali serat etilen
Tali polipropilena

Tali kawat
Tali kawat baja keras
Tali kawat baja semi kaku
Tali kawat halus

Fungsi tali tambat :

Kabel pertama
Kabel pertama, disebut juga kabel pengangkat, mencegah kapal bergerak mengikuti aliran air dan memungkinkannya berlabuh.
Kabel ekor
Kabel ekor dikirim keluar dari buritan untuk mencegah kapal bergerak maju.
Kepala di atas kabel
Kabel terbalik pertama, disebut juga kabel miring depan, mirip dengan kabel ekor, dan kabel kuncinya adalah membuka ekor dan keluar.
Kabel terbalik ekor
Kabel tail inverted disebut juga kabel duduk, mempunyai fungsi sebagai kabel pertama, dan keluarnya kabel duduk sebagai kabel kunci.
Kabel horisontal
Kabel horizontal tegak lurus dengan garis haluan dan buritan, dengan satu kabel di setiap ujungnya untuk mencegah kapal bergerak keluar.

Catatan mengenai pengikatan tali tambatan :
Kabel tambatan
Urutan peletakan kabel dan kecepatan pengangkutan kabel pada saat kapal berlabuh dapat menentukan kelancaran penyelesaian seluruh rencana manuver. Urutan pemasangan kabel erat kaitannya dengan kecepatan angin dan aliran air pada saat berlabuh.
Kabel tambatan
Setelah berlabuh, kapal harus memeriksa sudut dan kekuatan masing-masing kabel untuk mencegah keausan, serta mencegah tergelincir dan terpeleset.
Putar kabel saat meninggalkan tempat tidur
Urutan puntiran kabel pada saat pemberangkatan kapal berkaitan dengan aliran air dan kecepatan angin pada saat pemberangkatan. Metode keberangkatan yang berbeda digunakan dalam situasi yang berbeda untuk menentukan urutan puntiran kabel.




